Lựa chọn kích thước bồn cầu chuẩn xác không còn khó với mẹo này

CEO Fuji NguyễnCEO Fuji Nguyễn

22 Tháng Mười Hai 2023

1278

Kích thước bồn cầu tiêu chuẩn cần được tính toán dựa trên diện tích phòng vệ sinh, nhu cầu sử dụng hằng ngày hay loại bồn cầu tương ứng. Xác định thông số chuẩn xác và lắp đặt kiểu bồn cầu phù hợp sẽ đảm bảo tính thẩm mỹ, thông thoáng của không gian, đồng thời giúp việc sinh hoạt hằng ngày tiện nghi, thoải mái hơn. 

1. Kích thước bồn cầu tiêu chuẩn là gì?

Tùy vào nhu cầu sử dụng, diện tích và thiết kế tổng thể của căn phòng mà kích thước bồn cầu sẽ có sự thay đổi tương ứng. Do đó, không có một quy chuẩn cố định nào áp dụng chung cho toàn bộ các loại bồn cầu. Tuy nhiên, bạn có thể xác định các thông số về chiều rộng, chiều dài hay chiều cao phù hợp dựa trên một số phương pháp cụ thể.

Không có kích thước bồn cầu tiêu chuẩn áp dụng chung cho mọi không gian

Không có kích thước bồn cầu tiêu chuẩn áp dụng chung cho mọi không gian

Xem thêm: Giải đáp: Cấu tạo bồn cầu gồm những thành phần nào?

2. Cách xác định kích thước đặt bồn cầu phù hợp 

Để tính toán kích thước bồn cầu phù hợp với không gian phòng vệ sinh, gia chủ có thể tham khảo hướng dẫn sau: 

2.1. Chiều dài của bồn cầu 

Bạn đặt đầu thước lên bề mặt tường phía sau rồi kéo dài đến vị trí mà bạn muốn lắp đặt. Đây chính là độ dài tối đa của bồn cầu. Tuy nhiên, khi xác định chiều dài của bồn cầu, bạn cần chắc chắn rằng khoảng cách tối thiểu giữa tường và hai bên hông của bồn là 0.25m và có không gian trống xung quanh để người dùng dễ dàng di chuyển.

2.2. Chiều cao

Chiều cao trung bình của bệ xí là từ 350-400mm. Riêng đối với bồn cầu treo, chiều cao tối thiểu tới mặt sàn là 30cm. Trong trường hợp gia đình có người cao tuổi hoặc người khuyết tật, bạn nên linh hoạt điều chỉnh chiều cao của bồn cầu sao cho phù hợp. 

2.3. Chiều rộng

Bạn cần đo từ bề mặt tường giáp với bồn vệ sinh đến vị trí mà bạn mong muốn. Cũng giống như chiều dài, bạn cần xác định một khoảng trống nhỏ giữa tường và bồn (tối thiểu là 30cm) để việc vệ sinh bồn và việc di chuyển không vướng víu. 

Bạn cần để dư một khoảng trống giữa bồn cầu và tường để các hoạt động được thuận lợi

Bạn cần để dư một khoảng trống giữa bồn cầu và tường để các hoạt động được thuận lợi

3. Mẹo lựa chọn kích thước bồn cầu theo 02 tiêu chí

Việc lựa chọn kích thước bồn vệ sinh thông minh sẽ trở nên dễ dàng hơn nếu bạn đã nắm rõ được 02 yếu tố quan trọng sau:

3.1. Theo diện tích phòng

Bạn cần đo chính xác diện tích của nhà vệ sinh hoặc nhà tắm để từ đó xác định kích thước bồn cầu cân đối, phù hợp. Đối với những căn phòng rộng rãi, bạn có thể thoải mái lựa chọn bồn cầu có kích thước lớn hay nhỏ bởi chúng không ảnh hưởng nhiều đến tổng thể thiết kế. Ngược lại, nếu diện tích phòng hạn chế, bạn nên ưu tiên chọn chiếc bồn nhỏ gọn để tiết kiệm không gian. 

3.2. Theo chi phí

Nếu dư dả về mặt tài chính, bạn có thể chọn mua các loại bệ xí nhập ngoại, có các tính năng thông minh như chế độ làm ấm, chế độ tự vệ sinh,… Trong trường hợp không muốn đầu tư quá nhiều chi phí cho hạng mục này, bạn nên lựa chọn kiểu bồn cầu 2 khối.

Xem thêm: Giải đáp câu hỏi:” Có nên sử dụng bồn cầu treo tường hay không?”

4. Kích thước của các loại bồn cầu phổ biến 

Mỗi loại bệ xí đều có thiết kế và đặc điểm riêng nên kích thước của chúng cũng có sự khác biệt. 

4.1. Bồn cầu 1 khối 

Đây là loại bồn phổ biến nhất vì mang tỷ lệ kích thước phù hợp với hầu hết không gian nhà vệ sinh hiện nay và hợp với gu thẩm mỹ của phần lớn gia đình Việt. Loại bồn cầu tự rửa thông minh này có phần két nước không tách rời nên kích thước tổng thể của chúng khá lớn, thích hợp với phòng tắm có không gian rộng. Kích thước thông dụng của loại bệ xí này là 77x400x655mm. 

4.2. Bồn cầu 2 khối 

Trái ngược với bồn cầu 1 khối, bồn cầu 2 khối giúp tiết kiệm diện tích đáng kể cho căn phòng. Kích thước bồn cầu 2 khối thường được lựa chọn là 365x750x740mm. 

Bồn cầu 2 khối phù hợp với phòng có diện tích nhỏ hẹp

Bồn cầu 2 khối phù hợp với phòng có diện tích nhỏ hẹp

4.3. Bồn cầu vệ sinh trẻ em

Cho bé tập sử dụng bồn cầu từ khi còn nhỏ là điều mà bố mẹ nên làm. Điều này sẽ giúp bé trở nên tự lập, chủ động hơn, có thể hoàn thành các công việc nhỏ hàng ngày mà không cần đến sự giúp đỡ của ba mẹ. Kích thước bồn cầu loại nhỏ cho trẻ em là:

  • Chiều dài: 520mm
  • Chiều rộng: 315mm
  • Chiều cao tối thiểu: 310mm
  • Chiều cao tối đa: 650mm

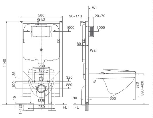
4.4. Bồn cầu treo tường

Khi lựa chọn và lắp đặt bồn cầu treo tường, gia chủ cần tìm hiểu kỹ lưỡng về độ sâu của sản phẩm. Chiều sâu của loại bồn này thường nằm trong khoảng từ 533 – 610mm, chiều rộng từ 480 – 700mm, chiều dài là 355 – 370mm và chiều cao từ 350 – 400mm.

Bồn cầu treo tường giúp tiết kiệm không gian phòng vệ sinh hiệu quả

Bồn cầu treo tường giúp tiết kiệm không gian phòng vệ sinh hiệu quả

4.5. Bồn cầu xổm

Bồn cầu xổm nhỏ gọn, dễ sử dụng và có mức giá phải chăng, vì vậy, chúng thường được lắp đặt tại các địa điểm có nhu cầu sử dụng cao như bệnh viện, nhà vệ sinh công cộng, trường học,… Kích thước phổ biến của loại bồn cầu này là: 426x485x450mm

5. Kích thước bồn cầu thông dụng

Để quá trình chọn mua dễ dàng hơn, bạn có thể tham khảo kích thước bồn cầu của 02 thương hiệu phổ biến tại Việt Nam là Inax và Toto.

5.1. Bồn cầu Inax

Các dòng sản phẩm bồn cầu Inax sở hữu kích thước và mẫu mã đa dạng, trong đó bồn vệ sinh 1 khối, bàn vệ sinh 2 khối và bồn vệ sinh treo được ưa chuộng nhất:

  • Kích thước bồn cầu Inax 1 Khối AC-2700+CW-H17VN: 810 x 642x 424mm
  • Kích thước bồn cầu Inax 1 khối AC-1135VN Nắp Đóng Êm: 809 x 615 x 475mm
  • Kích thước bồn cầu loại nhỏ Inax 2 Khối AC-504A+CW-H18VN: 756 x 390 x 727mm
  • Kích thước bệ xí inax 2 Khối C-504A+CW-S15VN: 756 x 390 x 727mm
  • Kích thước bệ xí Inax Treo Tường AC-23P+CW-KA22AVN: 760 x 636 x 380mm
  • Kích thước bồn vệ sinh Inax Treo Tường AC-23P+CW-H18VN: 760 x 636 x 380mm 

5.2. Bồn cầu Toto

Tương tự Inax, Toto cũng sở hữu 03 loại bồn phổ biến nhất thị trường. Kích thước của một số mẫu sản phẩm thông dụng như sau:

  • Kích thước bồn cầu 1 Khối TOTO MS636CDW10: 740 x 490 x 670mm
  • Kích thước bồn cầu 1 Khối TOTO MS864W4: 720x420x595mm
  • Kích thước bệt vệ sinh TOTO 2 Khối CS300DRW4: 693 x 451 x 763mm
  • Kích thước bồn cầu TOTO 1 Khối CS351DT2 Nắp Đóng Êm: 753x350x760mm
  • Kích thước bệt vệ sinh treo tường TOTO CW824PJ: 525 x 360 x 390mm
  • Kích thước bồn cầu treo tường TOTO CW822NJWS: 540 x 360 x 400mm
Bồn cầu Toto có 3 kích thước phổ biến

Bồn cầu Toto có 3 kích thước phổ biến

Việc đo đạc kích thước bồn cầu trước khi lắp đặt là yếu tố khá quan trọng, ảnh hưởng đến tiện nghi sinh hoạt hằng ngày của cả gia đình. Tuy không có thông số cố định cho kích thước bồn cầu tiêu chuẩn, gia chủ vẫn có thể dựa vào những nguyên tắc kể trên để tính toán, lựa chọn sản phẩm phù hợp với không gian phòng vệ sinh nhà mình. 

CEO Fuji Nguyễn
CEO Fuji Nguyễn

CEO Fuji Nguyễn là doanh nhân, hiện đang là Giám Đốc công ty Kuto Nhật Bản, có nhiều năm kinh nghiệm trên thương trường.